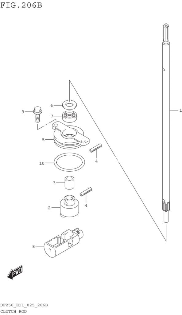
Clutch Rod (DF250ST)
Clutch Rod (DF250ST)
| Item # | Part Name | Price | Qty |
|---|---|---|---|
1 | Original price was: $111.86.$95.08Current price is: $95.08. Sales Tax Available on backorder | ||
2 | Original price was: $171.64.$145.90Current price is: $145.90. Sales Tax | ||
3 | Original price was: $7.21.$6.13Current price is: $6.13. Sales Tax | ||
4 | Original price was: $1.40.$1.19Current price is: $1.19. Sales Tax | ||
5 | Original price was: $16.10.$13.69Current price is: $13.69. Sales Tax | ||
6 | Original price was: $1.74.$1.48Current price is: $1.48. Sales Tax | ||
7 | Original price was: $7.02.$5.97Current price is: $5.97. Sales Tax | ||
8 | Original price was: $183.50.$155.97Current price is: $155.97. Sales Tax | ||
9 | Original price was: $2.84.$2.41Current price is: $2.41. Sales Tax | ||
10 | Original price was: $6.01.$5.11Current price is: $5.11. Sales Tax |
